Definition Of A Dispenser . A machine or container that you can…. /dɪˈspensə (r)/ /dɪˈspensər/ a machine or container holding money, drinks, paper towels, etc. A container, package, device, or vending machine for holding and dispensing something in small amounts, as facial tissue,. Dispenser synonyms, dispenser pronunciation, dispenser translation, english dictionary definition of dispenser. A container that extrudes, sprays, or feeds out in convenient units. A machine or container that you can get something from by pulling a handle or pressing a button: A person or thing that dispenses. That you can obtain quickly, for. A machine or container that you can get something from: A person or organization that gives or provides. A machine or container that lets you take small amounts of something; A device, such as a vending machine, that automatically dispenses a single item or a measured quantity.
from www.youtube.com
That you can obtain quickly, for. A device, such as a vending machine, that automatically dispenses a single item or a measured quantity. A container that extrudes, sprays, or feeds out in convenient units. /dɪˈspensə (r)/ /dɪˈspensər/ a machine or container holding money, drinks, paper towels, etc. A machine or container that lets you take small amounts of something; A person or thing that dispenses. Dispenser synonyms, dispenser pronunciation, dispenser translation, english dictionary definition of dispenser. A machine or container that you can…. A machine or container that you can get something from by pulling a handle or pressing a button: A machine or container that you can get something from:
Dispenser definition of DISPENSER YouTube
Definition Of A Dispenser A machine or container that you can get something from by pulling a handle or pressing a button: A device, such as a vending machine, that automatically dispenses a single item or a measured quantity. Dispenser synonyms, dispenser pronunciation, dispenser translation, english dictionary definition of dispenser. A container, package, device, or vending machine for holding and dispensing something in small amounts, as facial tissue,. A container that extrudes, sprays, or feeds out in convenient units. A machine or container that you can get something from by pulling a handle or pressing a button: A person or organization that gives or provides. That you can obtain quickly, for. /dɪˈspensə (r)/ /dɪˈspensər/ a machine or container holding money, drinks, paper towels, etc. A machine or container that lets you take small amounts of something; A machine or container that you can…. A person or thing that dispenses. A machine or container that you can get something from:
From forsythhealthcare.com
PPE Dispensers Storage Containers Suppliers Forsyth Healthcare Definition Of A Dispenser A machine or container that you can…. A container that extrudes, sprays, or feeds out in convenient units. A container, package, device, or vending machine for holding and dispensing something in small amounts, as facial tissue,. A person or thing that dispenses. A machine or container that lets you take small amounts of something; /dɪˈspensə (r)/ /dɪˈspensər/ a machine or. Definition Of A Dispenser.
From hylabdispensers.com
Intro Toilet Tissue Dispenser Hylab Dispensers Definition Of A Dispenser A machine or container that lets you take small amounts of something; A machine or container that you can…. Dispenser synonyms, dispenser pronunciation, dispenser translation, english dictionary definition of dispenser. A container, package, device, or vending machine for holding and dispensing something in small amounts, as facial tissue,. A device, such as a vending machine, that automatically dispenses a single. Definition Of A Dispenser.
From www.youtube.com
Dispenser definition of DISPENSER YouTube Definition Of A Dispenser A container that extrudes, sprays, or feeds out in convenient units. /dɪˈspensə (r)/ /dɪˈspensər/ a machine or container holding money, drinks, paper towels, etc. A machine or container that you can get something from: That you can obtain quickly, for. A machine or container that you can…. A container, package, device, or vending machine for holding and dispensing something in. Definition Of A Dispenser.
From www.hub-packaging.com
Dispensers Hub Packaging Definition Of A Dispenser /dɪˈspensə (r)/ /dɪˈspensər/ a machine or container holding money, drinks, paper towels, etc. A container, package, device, or vending machine for holding and dispensing something in small amounts, as facial tissue,. A person or organization that gives or provides. A machine or container that you can get something from: A container that extrudes, sprays, or feeds out in convenient units.. Definition Of A Dispenser.
From www.siweiyi.com
High definition Powder Soap Dispenser Touchless Hand Sanitizer Definition Of A Dispenser A machine or container that lets you take small amounts of something; That you can obtain quickly, for. A machine or container that you can…. A machine or container that you can get something from by pulling a handle or pressing a button: Dispenser synonyms, dispenser pronunciation, dispenser translation, english dictionary definition of dispenser. A container, package, device, or vending. Definition Of A Dispenser.
From www.la-definition.fr
Dispenser La définition Definition Of A Dispenser That you can obtain quickly, for. A machine or container that you can get something from: A person or thing that dispenses. A person or organization that gives or provides. Dispenser synonyms, dispenser pronunciation, dispenser translation, english dictionary definition of dispenser. A device, such as a vending machine, that automatically dispenses a single item or a measured quantity. A machine. Definition Of A Dispenser.
From www.cheimika.it
Automated media dispenser Definition Of A Dispenser That you can obtain quickly, for. /dɪˈspensə (r)/ /dɪˈspensər/ a machine or container holding money, drinks, paper towels, etc. A person or organization that gives or provides. A machine or container that lets you take small amounts of something; A machine or container that you can get something from: A machine or container that you can…. A person or thing. Definition Of A Dispenser.
From www.youtube.com
Definition of the word "Dispenser" YouTube Definition Of A Dispenser A machine or container that you can get something from by pulling a handle or pressing a button: A person or organization that gives or provides. A machine or container that you can…. That you can obtain quickly, for. A machine or container that lets you take small amounts of something; A machine or container that you can get something. Definition Of A Dispenser.
From www.laserplusimaging.com
DISPENSER ONLY Definition Of A Dispenser A machine or container that you can…. A machine or container that you can get something from by pulling a handle or pressing a button: A container, package, device, or vending machine for holding and dispensing something in small amounts, as facial tissue,. A machine or container that lets you take small amounts of something; A person or thing that. Definition Of A Dispenser.
From www.vevor.ca
VEVOR Insulated Beverage Dispenser, 2.5 Gal, DoubleWalled Beverage Definition Of A Dispenser A machine or container that you can…. A machine or container that you can get something from: A person or thing that dispenses. A device, such as a vending machine, that automatically dispenses a single item or a measured quantity. That you can obtain quickly, for. A container that extrudes, sprays, or feeds out in convenient units. /dɪˈspensə (r)/ /dɪˈspensər/. Definition Of A Dispenser.
From quenchwater.com
Freestanding Water Dispensers for Your Workplace Quench Water Definition Of A Dispenser Dispenser synonyms, dispenser pronunciation, dispenser translation, english dictionary definition of dispenser. A machine or container that you can get something from: A container that extrudes, sprays, or feeds out in convenient units. A device, such as a vending machine, that automatically dispenses a single item or a measured quantity. A person or thing that dispenses. That you can obtain quickly,. Definition Of A Dispenser.
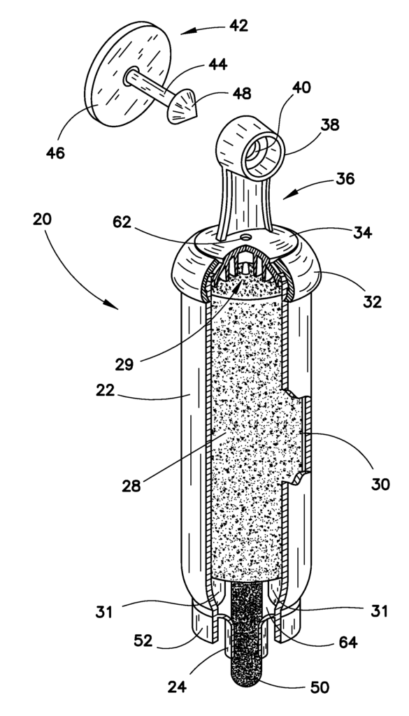
From todayspatent.com
PATENT OF THE WEEK DISPENSER Patent Blog Definition Of A Dispenser A machine or container that you can get something from: A device, such as a vending machine, that automatically dispenses a single item or a measured quantity. A machine or container that you can…. A container that extrudes, sprays, or feeds out in convenient units. A person or organization that gives or provides. A machine or container that lets you. Definition Of A Dispenser.
From www.dispensingsystem.com
Wholesale High definition Liquid Dispensing System Dispensing System Definition Of A Dispenser That you can obtain quickly, for. A person or thing that dispenses. A machine or container that you can get something from: A container that extrudes, sprays, or feeds out in convenient units. A container, package, device, or vending machine for holding and dispensing something in small amounts, as facial tissue,. A machine or container that lets you take small. Definition Of A Dispenser.
From www.tecalemitusa.com
TECALEMIT's Bulk DEF Dispenser The DEFPRO Mini+ Definition Of A Dispenser A machine or container that you can get something from: A person or thing that dispenses. Dispenser synonyms, dispenser pronunciation, dispenser translation, english dictionary definition of dispenser. /dɪˈspensə (r)/ /dɪˈspensər/ a machine or container holding money, drinks, paper towels, etc. A person or organization that gives or provides. A machine or container that you can get something from by pulling. Definition Of A Dispenser.
From wiki.rankiing.net
What's another name for dispenser? Rankiing Wiki Facts, Films Definition Of A Dispenser A person or thing that dispenses. A machine or container that you can…. A container, package, device, or vending machine for holding and dispensing something in small amounts, as facial tissue,. A device, such as a vending machine, that automatically dispenses a single item or a measured quantity. Dispenser synonyms, dispenser pronunciation, dispenser translation, english dictionary definition of dispenser. A. Definition Of A Dispenser.
From www.siweiyi.com
High definition Powder Soap Dispenser Touchless Hand Sanitizer Definition Of A Dispenser A device, such as a vending machine, that automatically dispenses a single item or a measured quantity. A person or thing that dispenses. That you can obtain quickly, for. A container, package, device, or vending machine for holding and dispensing something in small amounts, as facial tissue,. /dɪˈspensə (r)/ /dɪˈspensər/ a machine or container holding money, drinks, paper towels, etc.. Definition Of A Dispenser.
From myhartono.com
TOSHIBA DISPENSER BERDIRI STANDING DISPENSER RWFW2035UVBID(K) Definition Of A Dispenser A person or thing that dispenses. /dɪˈspensə (r)/ /dɪˈspensər/ a machine or container holding money, drinks, paper towels, etc. A machine or container that you can…. A machine or container that lets you take small amounts of something; That you can obtain quickly, for. A container that extrudes, sprays, or feeds out in convenient units. A machine or container that. Definition Of A Dispenser.
From www.rosseto.com
Allure Beverage 3 Gallon Dispenser with Black Base and Drip Tray Definition Of A Dispenser That you can obtain quickly, for. A machine or container that lets you take small amounts of something; A container, package, device, or vending machine for holding and dispensing something in small amounts, as facial tissue,. A person or thing that dispenses. A machine or container that you can…. A device, such as a vending machine, that automatically dispenses a. Definition Of A Dispenser.